Telefon: +420 725 845 662

Upínač pro nářadí cylindrické (pro nářadí s vnitřním chlazením) VDI typ E1

Specifications:

E1 TYP 1254

apx VDIB1 1114P

VDI_B1_rys

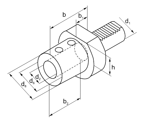
Type - sized1d2d6d8bb1b2h
E1.D20.WE16 20 16 36 50 67 18 54 -
E1.D20.WE20 20 20 40 50 67 18 54 -
E1.D20.WE25 20 25 45 50 71 22 59 -
E1.D30.WE16 30 16 36 68 67 22 54 28
E1.D30.WE20 30 20 40 68 67 22 54 28
E1.D30.WE25 30 25 45 68 71 22 59 28
E1.D30.WE32 30 32 52 68 75 22 63 28
E1.D40.WE10 40 10 35 83 67 22 41 32,5
E1.D40.WE16 40 16 36 83 67 22 54 32,5
E1.D40.WE20 40 20 40 83 67 22 54 32,5
E1.D40.WE25 40 25 45 83 75 22 63 32,5
E1.D40.WE32 40 32 52 83 75 22 73 32,5
E1.D40.WE40 40 40 60 83 90 30 54 32,5
E1.D50.WE12 50 12 40 98 145 30 54 35
E1.D50.WE16 50 16 40 98 145 30 54 35
E1.D50.WE20 50 20 40 98 67 30 54 35
E1.D50.WE25 50 25 45 98 80 30 59 35
E1.D50.WE32 50 32 52 98 80 30 63 35
E1.D50.WE40 50 40 60 98 90 30 73 35
E1.D50.WE50 50 50 70 98 100 30 83 35

 

CHWYT VDI (DIN 69880)
VDI holder

d1 h6
L1 ± 0,3
d2d3h1 max
h2 ± 0,1L2 ± 0,05L3 minL4 +1r1 ± 0,02
16 32 H6 40 12 15,0  12,7  16  2 14,5
20 40 H6 50 16 18,0  21,7  24  2 18,0
30 55 H8 68 20 27,0 29,7 40 2 25,0
40 63 H8 83 25 36,0 29,7 40 3 32,0
50 78 H8 98 32 45,0 35,7 48 3 37,0
Tento web používá k poskytování služeb, personalizaci reklam a analýze návštěvnosti soubory cookie. Používáním tohoto webu s tím souhlasíte. Více informací