Telefon: +420 725 845 662

Upínač nožový krátký (levý) VDI typ B2

Specifications:

B2 TYP 1114L

apx VDIB1 1114P

VDI_B1_rys

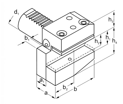
Type - sized1aa1bb1b2h1h2h3h4
B2.D16.H12 16 24 13 42 5,0 23,0 12 10 20,0 22
B2.D20.H16 20 30 16 55 7,0 30,0 16 12 25,0 30
B2.D30.H20 30 40 22 70 10,0 35,0 20 16 28,0 38
B2.D40.H25 40 44 22 85 12,5 42,5 25 20 32,5 48
B2.D50.H32 50 55 30 100 16,0 50,0 32 25 35,0 60

Accessories
apx plytkaVDI-1 ss shim VDI apx plytkaVDI-2 ss shim VDI apx dyszaVDI ss coolan jets VDI

 

CHWYT VDI (DIN 69880)
VDI holder

d1 h6
L1 ± 0,3
d2d3h1 max
h2 ± 0,1L2 ± 0,05L3 minL4 +1r1 ± 0,02
16 32 H6 40 12 15,0  12,7  16  2 14,5
20 40 H6 50 16 18,0  21,7  24  2 18,0
30 55 H8 68 20 27,0 29,7 40 2 25,0
40 63 H8 83 25 36,0 29,7 40 3 32,0
50 78 H8 98 32 45,0 35,7 48 3 37,0

apxPrzyk zast oprVDI
A) Use of radial toolholders, clockwise spindle rotation. B) Use of radial toolholders, counterclockwise spindle rotation.
Tento web používá k poskytování služeb, personalizaci reklam a analýze návštěvnosti soubory cookie. Používáním tohoto webu s tím souhlasíte. Více informací