Telefon: +420 725 845 662

Upínač nožový prodloužený (pravý) VDI typ C1

Specifications:

C1 TYP 1133P

apx VDIB1 1114P

VDI_B1_rys

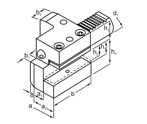
Type - sized1aa1a2bb1b2h1h2h3h4
C1.D20.H16 20 52 13 27,5 55 7 30 16 12 25 30
C1.D30.H20 30 70 17 35 70 10 30 20 16 28 38
C1.D40.H25 40 85 21 42,5 85 12,5 30 25 20 32,5 48
C1.D50.H32 50 100 26 50 100 16 40 32 25 35 60

Accessories
apx plytkaVDI-1 ss shim VDI apx plytkaVDI-2 ss shim VDI apx dyszaVDI ss coolan jets VDI

 

CHWYT VDI (DIN 69880)
VDI holder

d1 h6
L1 ± 0,3
d2d3h1 max
h2 ± 0,1L2 ± 0,05L3 minL4 +1r1 ± 0,02
16 32 H6 40 12 15,0  12,7  16  2 14,5
20 40 H6 50 16 18,0  21,7  24  2 18,0
30 55 H8 68 20 27,0 29,7 40 2 25,0
40 63 H8 83 25 36,0 29,7 40 3 32,0
50 78 H8 98 32 45,0 35,7 48 3 37,0

apxPrzyk zast oprVDI
A) Use of radial toolholders, clockwise spindle rotation. B) Use of radial toolholders, counterclockwise spindle rotation.
Tento web používá k poskytování služeb, personalizaci reklam a analýze návštěvnosti soubory cookie. Používáním tohoto webu s tím souhlasíte. Více informací