Telefon: +420 725 845 662

Magnetický stojan mechanický (104)

Magnetický stojan mechanický (104)

Vlastnosti a použití:

  • Určen pro úchylkoměry
  • Mechanická svorka zaručuje velmi vysokou tuhost
  • Kulové klouby umožňují libovolné umístění špičky stativu

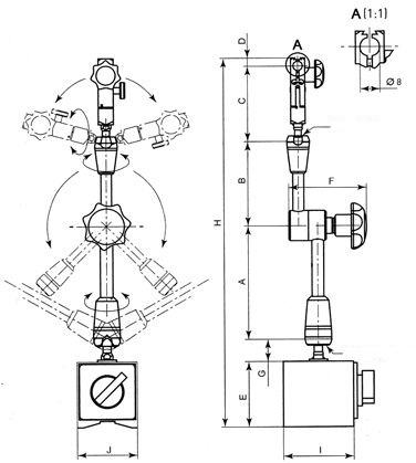
      Technické údaje:

      pods_mag_104_01

      pods_mag_104_02

       

      Parametr

      Hodnota

      Jednotka

      Rozměry podstavy (E x J x I) 55 x 50 x 63 mm
      Průměr držáku úchylkoměru ø8 mm
      H 351 mm
      G 20 mm
      A 112 mm
      B 100 mm
      C 50 mm
      D 14 mm
      F 63 mm
      Hmotnost 1,6 kg
      Cena 640

      pods_mag_104_rys

      Tento web používá k poskytování služeb, personalizaci reklam a analýze návštěvnosti soubory cookie. Používáním tohoto webu s tím souhlasíte. Více informací