Držák vrtáků DIN40/B22 - 32 (DM-382)
Vlastnosti a použití:
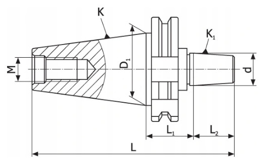
Kuželový držák SK (DIN40) dle DIN 69871 s vnitřním vtahujícím závitem M16 se používá u běžných strojů nebo strojů s automatickou výměnou nástroje.
Používá se pro montáž vrtačkových sklíčidel s kuželem B22 do sloupových vrtaček, soustruhů a dalších obráběcích strojů.
K pohodlnému upevnění nástroje v držáku můžete použítmontážní držák nástrojů (není součástí).
Pro automatickou výměnu na CNC strojích by měly být použity vtažné šrouby přímo do držáku.
Technické parametry:
| Parametr | Hodnota | Jednotky |

|
| K (DIN69871) |
40 |
|
| K1 |
B22 |
mm |
| L1 |
32 |
mm |
| L2 |
40,5 |
mm |
| L |
140,9 |
mm |
| D |
21,793 |
mm |
| D1 |
44,45 |
mm |
| Průměr závitu |
M16 |
|