Email:
eshop@arcimpex.cz
Telefon:
+420 725 845 662
Registrovat
Přihlásit
Košík: 0 ks
Celkem:
0 Kč
Objednat
Kategorie
Úvod
Katalogy
Služby
O Naší společnosti
Divize kovovýroby
Divize kovoobrábění
Divize svařováníDivize svařování
Divize obchodu
Obchodní podmínky
Ochrana údajů
Kontakty
Úvod
Katalogy
Služby
O Naší společnosti
Divize kovovýroby
Divize svařování
Divize obchodu
Obchodní podmínky
Kontakty
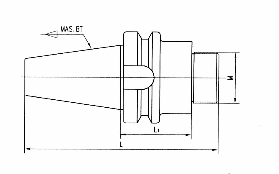
Závitořezné a vyvrtávací hlavy
VYVRTÁVACÍ HLAVY
UPÍNAČ VYVRTÁVACÍ HLAVY BT50
Skladem
1980 Kč
Výrobce: Darmet
Vlastnosti a použití:
Používá se do vyvrtávacích hlav se závitem 1-1/2"
Technické parametry:
Parametr
Hodnota
Jednotky
Typ kužele
MAS 403 BT 50
M
1
1-1/2"
L
188,8
mm
L
1
75
mm
Hmotnost
5,0
kg
Tento web používá k poskytování služeb, personalizaci reklam a analýze návštěvnosti soubory cookie. Používáním tohoto webu s tím souhlasíte.
V pořádku
Více informací